"accélérer" à l'extrême un Mak sans réducteur ...

Le labo avec les dernières avancées, c'est ici !
Répondre
Lambda
Messages : 1462
Inscription : 10 avr. 2019, 12:00

"accélérer" à l'extrême un Mak sans réducteur ...

Message par Lambda » 27 janv. 2020, 12:35

Salut les gars. :)

Petite question pour les cadors opticiens dans nos rangs... :)

Pour monter ma petite 290 avec mon LOMO, j'ai "vidé" de ces optiques un mak MTO pour récupéré le bâti à mise au point hélicoidale.

Bien :closedeyes:

Ceci étant fait, J'ai donc un système de ménisques/miroir secondaire et primaire sphériques de dispo dans un tiroir.

En les regardant langoureusement, je me suis fais la reflexion suivante: :D

Il se trouve que pour les SC, le rapport d'ouverture de ces catadiotptriques varie assez fortement, lorsqu'on déplace (on avance ou on recule) le primaire du secondaire. Il y'a eu des etudes faites sur le net à propose de cela, et @pejive (? ou un autre d'entre vous, pardon si je cite mal... :oops: qu'il se cite pour que je corrige....) avait aussi présenté ici une etude me semble t'il...

https://saplimoges.fr/variation-de-la-f ... -au-point/

(genre un passage de F/D=12.5 a 7.5 avec un deplacement de primaire de 17.5 mm d'un bout à l'autre de ces valeurs... pour un C8).
Je crois que ce principe de variation de focale résultante, et donc de rapport d'ouverture d'un SC est en fait valable pour tout système de telescope catadioptrique avec un primaire convergent mobile par rapport à un secondaire divergent.

Doooonc, je me disais que cela serait marrant de remonter les optiques de mon MTO (100/700) en éloignant autant que possible le primaire du seconaire+ménisque et donc en diminuant fortement la focale résultante de l'ensemble et donc avoir un F/D le plus petit possible. Modulo de faire extrêmement rentrer le foyer de "Mak reconstitué", mais je m'en fous, ce serait pour mettre à demeure une petite cam baton dedans.

Concrêtement, je peux me refaire un bâti coulissant PVC/quincaillerie, pate sablée, marshmallow... on s'en fout....

J'ai les côtes aussi de positionnement relative du primaire et secondaire + ménisque que je peux reprendre sur mon autre MTO, lorsque le primaire est éloigné au max du secondaire, avec le système hélicoidal d'origin "devise au max"...

à partir de là, voici ma question:

Quelle distance maximale d'éloignement peut on envisager entre primaire et secondaire d'un Mak (ou SC d'ailleurs) sans risquer de créer des problèmes de géométrie optique, de vignettage, de diaphragme induit du primaire à cause de la longueur du Bâti, d'abberation en tout genre, etc...

L'idée étant d'obenir par éloignement suffisant peut-être un Mak, genre 100/200-300 ouvert donc à 2-3 (cela est juste un exemple...) voir moins, en partant de mon Mak 100/700 dans lequel j'aurai éloigné volontairement et de façon exagérée primaire et secondaire + menisque... Et donc sans utiliser d'optique additionelle, nir réducteur ou optique relais, rien du tout....

Je sais pas si je suis bien clair... :think: :oops:

Merci à vous pour vos lumières sur cette fantaisie... :D

à+,
Lambda

pejive
Messages : 11244
Inscription : 09 avr. 2019, 05:43
Localisation : 33

"accélérer" à l'extrême un Mak sans réducteur ...

Message par pejive » 27 janv. 2020, 13:24

bonjour
je suis pas sûr que l'on puisse obtenir des F/D très éloignés du "nominal". Quant aux aberrations il risque d'y en avoir
Je vais essayer de faire un calcul sur la base des valeurs du C5 (mon premier SC :) ) pour lequel j'ai les cotes et valeurs des distances focales

Lambda
Messages : 1462
Inscription : 10 avr. 2019, 12:00

"accélérer" à l'extrême un Mak sans réducteur ...

Message par Lambda » 27 janv. 2020, 13:33

Merci Pejive, pour tes calculs! :)

vu le passage de 12.5 a 7.5 avec le C8, je trouvais ça déjà remarquable....

Après au niveau abbérations/vignettage/diaphragmage éventuels, je ne sais pas... Bon, c'est pour bosser toujours avec du petit capteur... Ca peut limiter la casse, peut-être...

à+!

Lambda

pejive
Messages : 11244
Inscription : 09 avr. 2019, 05:43
Localisation : 33

"accélérer" à l'extrême un Mak sans réducteur ...

Message par pejive » 27 janv. 2020, 14:37

Je viens de faire quelques calculs préliminaires; sauf erreur, çà se présente mal.
En partant d'un système Cassegrain pour lequel le foyer serait au centre du miroir primaire:
Si on éloigne les miroirs la focale équivalente diminue....mais le foyer rentre dans le tube :cry:
Si on rapproche les miroirs le foyer ressort...mais la focale équivalente augmente donc F/D aussi :mrgreen:
:ninja:
Il faut que je vérifie mes calculs ; je vais comparer au cas du C8

Lambda
Messages : 1462
Inscription : 10 avr. 2019, 12:00

"accélérer" à l'extrême un Mak sans réducteur ...

Message par Lambda » 27 janv. 2020, 15:02

Merci Pejive pour ces premiers résultats! :)
pejive a écrit :
27 janv. 2020, 14:37
mais le foyer rentre dans le tube
Comme je disais plus haut, ça, ce n'est pas du tout un problème en fait: l'idée c'est de coller une camera baton, voir meme juste la carte supportant la cam avec la connectique "planquée" dans l'axe optique et ressortant par le porte oculaire évidé. Et le corps de ce scope serait fait à base de tubes PVC, ALU, etc... donc rien de standard, et en fait sans porte oculaire à proprement parler...

petit crowbar à la con...

en haut, Mak de base (ou SC)
en bas, primaire reculé par rapport au secondaire du ménisque: camera en rouge dans le tube, cable qui sort par le porte oculaire, bien droit (grace à un centreur en vert, bouchon percé au centre) planqué derrière la section circulaire du corps de la cam baton,

Le schéma est extrememement caricatural, juste pour illustrer l'idée sans ambiguité...
Mak barjo.jpg
Mak barjo.jpg (40.63 Kio) Consulté 4030 fois

à+,
Lambda

pejive
Messages : 11244
Inscription : 09 avr. 2019, 05:43
Localisation : 33

"accélérer" à l'extrême un Mak sans réducteur ...

Message par pejive » 27 janv. 2020, 17:03

Si on peut mettre la camera entre les miroirs çà ouvre (peut-être) des possibilités.
Allez go pour un peu de calcul :doh: :doh: :doh:

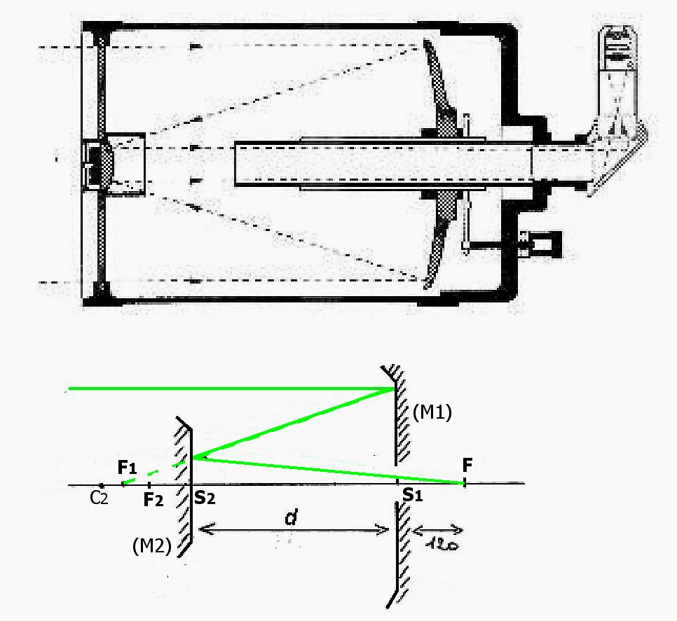
Voilà un C5 en coupe et le modèle optique que je vais étudier.
optique-C5.jpg
optique-C5.jpg (107.92 Kio) Consulté 4009 fois
On connaît le diamètre du primaire 125mm et la focale équivalente Feq=1250mm
Quelques mesures sur la vue en coupe permettent de trouver d= 185mm entre les 2 miroirs et un backfocus de 120mm.
Le foyer F est l'image du foyer primaire donnée par le secondaire.

On a donc (algèbriquement):
1/f2= 1/305- 1/(f1-185)
et le miroir secondaire donne un grandissement g= 305/(f1-185) soit pour la focale équivalente Feq= g*f1=1250
Il y a donc 2 inconnues (f1 et f2) et 2 équations :banana-dance:
C'est un jeu d'enfant de trouver les focales des miroirs: f1= 245 mm et f2=-75mm en arrondissant
Etudions maintenant l'effet d'une variation de d , les caractéristiques des miroirs ne changeant pas..
En agitant les formules de conjugaison on trouvera:
:) la distance S2F=x1= 75*(245-d)/(d-170)
:) la focale équivalente Feq= 18375/(d-170)
Soit graphiquement
modC5-01.jpg
on voit que si on augmente d le foyer F se rapproche de (M2) et finit par être entre les 2 miroirs pour d > 191 mm
modC5-02.jpg
A 198 mm la focale équivalente n'est plus que 653 mm soit F/D= 5,22...et x1=130mm donc backfocus de -68mm
Schéma à l'échelle:
miniC5.jpg

pejive
Messages : 11244
Inscription : 09 avr. 2019, 05:43
Localisation : 33

"accélérer" à l'extrême un Mak sans réducteur ...

Message par pejive » 27 janv. 2020, 17:33

Si tu connais les dimensions du MTO de base je pourrais adapter mes calculs.
Mais finalement le secondaire est-il vraiment indispensable ? Il faudrait faire un test directement au foyer primaire

Lambda
Messages : 1462
Inscription : 10 avr. 2019, 12:00

"accélérer" à l'extrême un Mak sans réducteur ...

Message par Lambda » 27 janv. 2020, 19:57

Merci Pejive, pour tout tes efforts! c'est excellent et exactement le gnre d'infos que je cherche.... :ave:
Mais j'ai un peu honte, :oops: car je connais cette sequence de calcul, mais ne l'ai pas pratique depuis au moins 2 décennies, maintenant... et franchement, je suis tout rouille et m appuie facilement sur ceux qui savent encore.... :oops: ... Merci pour ces rappels!

Pour mon MTO, les deux sont demontes, reconfigures, trifouiilles...je n ai plus es cotes exctes, mais en farfouillant dans mes "archives", j ai ca (en suivant tes notations):

pour le primaire spherique: focale Fprim=200 mm (rayon de courbure C=2Fprim=400 mm
focale resultante du Mak, pour d=170 mm (a la louche/memoire) =700 mm
et distance S1F environ de 30 mm....

ooops, j ai la petite sur l'ordi!..

Lambda
Messages : 1462
Inscription : 10 avr. 2019, 12:00

"accélérer" à l'extrême un Mak sans réducteur ...

Message par Lambda » 27 janv. 2020, 21:16

pejive a écrit :
27 janv. 2020, 17:33
Mais finalement le secondaire est-il vraiment indispensable ? Il faudrait faire un test directement au foyer primaire
Ca y'est, tout le monde roupille.... je viens de faire tomber la boule a facette du pafond et deploye le bar disco escamotable de sous l'evier... :D :dance:
Alors.....

Oui en fait j ai fait des tests directement avec une webcam au foyer du primaire sans menisque ni miroir secondaire...Ca marche, mais avec evidemment une aberration de sphericite de classe intergalactique... normal pour un miroir spherique... :)

on pourrait imaginer garder le menisque correcteur et supprimer le secondaire, mais sur le MTO je ne peux pas, le secondaire est directement alumine sur la face interne du systeme de menisque.... C'est un "vrai" Mak, quoi... :D

du coup, c'est pour ca que je voudrais voir ce qu on peut obtenir en jouant sur "d" pour accelerer le mak....
Cela me permet de garder le systeme de menisque correcteur+ miroir.

... to be continued! :)

a+,
Lambda

pejive
Messages : 11244
Inscription : 09 avr. 2019, 05:43
Localisation : 33

"accélérer" à l'extrême un Mak sans réducteur ...

Message par pejive » 27 janv. 2020, 22:12

C'est un peu plus pointu pour le MTO surtout avec des valeurs approchées; çà se joue à moins d'un millimètre!
Pour arriver à une focale de 700 mm j'ai trouvé d=148mm; f2=-73,5 mm
MTO-tab.jpg
MTO-tab.jpg (27.33 Kio) Consulté 3949 fois
MTO-01.jpg
MTO-02.jpg
avec d= 160mm la focale résultante tomberait à 440 mm; pour d= 170 340mm
Au-delà à tester :lol:
Exemple de réduction extrême; on voit que c'est la camera qui fait de l'obstruction
MTO-378.jpg
MTO-378.jpg (41.22 Kio) Consulté 3950 fois

pejive
Messages : 11244
Inscription : 09 avr. 2019, 05:43
Localisation : 33

"accélérer" à l'extrême un Mak sans réducteur ...

Message par pejive » 28 janv. 2020, 10:59

J'ai déterminé que le diamètre du miroir secondaire est de 32 mm.
Il va falloir trouver la configuration idéale pour que la camera n'apporte pas d' obstruction supplémentaire
MTO-lambda.jpeg
MTO-lambda.jpeg (119.83 Kio) Consulté 3946 fois
MTO-obstruction.jpg
MTO-obstruction.jpg (41.61 Kio) Consulté 3946 fois

Lambda
Messages : 1462
Inscription : 10 avr. 2019, 12:00

"accélérer" à l'extrême un Mak sans réducteur ...

Message par Lambda » 28 janv. 2020, 13:13

Pejive, t es pile poil dans les clous! J ai revérifie mes côtes, et ça colle avec tes calculs!

Tu as fais un boulot d étude admirable, surtout avec les données de piètres qualités que je t'ai fourni... :oops:

Pour la taille du miroir secondaire, c est moins pessimiste que 32 mm... t étais dans le bon ordre de grandeur. Mais je viens de ré mesurer son diamètre, on est à 36mm.... ce qui est une bonne nouvelle et offre plus de latitude pour loger le corps de caméra...

En regardant des résultats, je suis bien tenté de choisir:

d=170 mm
x1= 50 mm
Feq= 340 mm

Et donc

Avec le diamètre de secondaire à 36 mm de diamètre et un brin d usinage/ customisation du corps d une cam baton, je pense que c est jouable sans obstruction additionnelle...

Je fais un crobar papier de mon côté...

Merci!

A+,
Lambda

pejive
Messages : 11244
Inscription : 09 avr. 2019, 05:43
Localisation : 33

"accélérer" à l'extrême un Mak sans réducteur ...

Message par pejive » 28 janv. 2020, 13:28

Oui je pense qu'il faut taper dans cette valeur de d à 5 mm près; les déplacements de la caméra seront aussi de quelques millimètres
Tu trouveras sûrement du matériel chez casto pour faire un prototype :mrgreen:

Lambda
Messages : 1462
Inscription : 10 avr. 2019, 12:00

"accélérer" à l'extrême un Mak sans réducteur ...

Message par Lambda » 28 janv. 2020, 13:46

Par contre, je viens de me rendre compte d un truc...

Le miroir primaire a un diamètre utile de 110 mm, pas 100 mm.... c est le ménisque d entrée qui a une diamètre collecteur de 100 mm...

Et c est vrai qu il est légèrement divergent...

Je ne pense pas que ça a une incidence majeure sur tes resultats, mais bon....

Ici un dessin avec le secondaire à 36 mm de diamètre....
Et une cam baton de 31.75 mm de diamètre
image.jpg
Bon, si je me plante pas, en effet, va y avoir pas mal d'obstruction additionnelle....

Bon, si j imagine un rayon rentrant en vert, un peu comme condition limite permettant d imaginer le diamètre Max de la cam aux conditions ci dessus, avec comme obstruction unique et Max, celle du miroir secondaire
d=170 mm
x1=50 mm

On a un diamètre Max de corps de cam de l ordre de 19 mm...
image.jpg

Lambda
Messages : 1462
Inscription : 10 avr. 2019, 12:00

"accélérer" à l'extrême un Mak sans réducteur ...

Message par Lambda » 28 janv. 2020, 13:51

Ok Pejive, je colle aux consignes données par tes calculs...

Et bricoler une cam pour la réduire à 19-20 mm diamètre, à partir d une cam baton ca doit être jouable...

Faut que je mesure le diamètre de la carte électronique de ma 290....

...

Avatar de l’utilisateur
clouzot
Site Admin
Messages : 16406
Inscription : 08 avr. 2019, 23:13
Localisation : 06 et 30

"accélérer" à l'extrême un Mak sans réducteur ...

Message par clouzot » 28 janv. 2020, 13:54

Perdrais-tu tant que ça en contraste en augmentant légèrement l'obstruction due à la caméra ? Je ne sais pas comment varie le ratio de Strehl avec l'obstruction ceci dit, mais est-ce si sensible (ex mon C9 qui a la pire obstruction dans la gamme Celestron, et se débrouille pas si mal que ça en planétaire. Enfin, pas chez moi, chez les "pros" :mrgreen: )

Lambda
Messages : 1462
Inscription : 10 avr. 2019, 12:00

"accélérer" à l'extrême un Mak sans réducteur ...

Message par Lambda » 28 janv. 2020, 14:00

Bon... carte en forme de disque de la cam...diamètre entre 28.5 et 29 mm.....

Peut être un peu diminuer d vers les 162-164 cm et une focale resultante autour de 400 mm....

Faut que je refasse un dessin, pour voir...

...

Lambda
Messages : 1462
Inscription : 10 avr. 2019, 12:00

"accélérer" à l'extrême un Mak sans réducteur ...

Message par Lambda » 28 janv. 2020, 14:04

Clouzot, je pense en effet que ce serait acceptable, surtout que c est partiellement rattrapable en tripotant l histogramme de SC, entre autre... surtout que c est pour du CP basse resolution, pas du planétaire HR....

En tout cas, clair que casto like, va me voir arriver....
:D

Avatar de l’utilisateur
Guimby
Messages : 3545
Inscription : 23 avr. 2019, 13:08
Localisation : 24

"accélérer" à l'extrême un Mak sans réducteur ...

Message par Guimby » 28 janv. 2020, 14:12

@Lambda comment est relié le capteur a la carte? Tu ne peux pas envisager de déporter cette carte en dehors du champ a ne pas obstruer? Quitte a la mettre en dehors? Ou devant le ménisque ?

Et quid d'un renvoie du faisceau sur le côté ?

pejive
Messages : 11244
Inscription : 09 avr. 2019, 05:43
Localisation : 33

"accélérer" à l'extrême un Mak sans réducteur ...

Message par pejive » 28 janv. 2020, 15:41

Ouh là là :mrgreen: je n'avais pas envisagé un démontage de caméra.
Je pense qu'un test préalable avec une cam non customisée serait souhaitable.
Mais @Lambda est meilleur bricoleur que moi :lol:
On va bientôt avoir le Mak le plus rapide de la galaxie :lol:

Lambda
Messages : 1462
Inscription : 10 avr. 2019, 12:00

"accélérer" à l'extrême un Mak sans réducteur ...

Message par Lambda » 28 janv. 2020, 23:22

Guimby, le capteur est "CMS" soudé.. :cry:

Sinon, s il avait été slotte sur un support, ton idée aurait été jouable, on pourrait même envisager d empiler plusieurs supports/slots les uns sur les autres et installer le capteur au sommet de l empilement.... cela permettrait de dégager le capteur facilement de 2 ou 3 cm au dessus de la carte et donc de pouvoir faire reculer d'autant le corps de la cam en direction du trou du miroir primaire, diminuant ainsi l obstruction effective de la cam....

Un truc comme ça...
image.jpg
Mais bon, je peux pas faire ça avec cette cam..., en fait, avec un léger compromis, niveau augmentation obstruction... ça devrait passer au chausse pied... :D

A+,
Lambda

pejive
Messages : 11244
Inscription : 09 avr. 2019, 05:43
Localisation : 33

"accélérer" à l'extrême un Mak sans réducteur ...

Message par pejive » 29 janv. 2020, 06:52

J'ai trouvé un logiciel qui devrait te plaire :)
http://serge.bertorello.free.fr/correct/correct.html
Il m'a fallu "un certain temps" pour le prendre en mains mais avec un peu de patience...
J'ai utilisé pour les rayons de courbure du ménisque celui que j'avais estimé pour le miroir secondaire.
Les indices de réfraction correspondent à un verre de Shott le SSK1
Le Mak de base
Mak-00.jpg
Mak-00.jpg (115.9 Kio) Consulté 3889 fois
Le Mak rapide
Mak-01.jpg
Mak-01.jpg (91.05 Kio) Consulté 3889 fois
avec un autre verre
Mak-03.jpg
Mak-03.jpg (100.72 Kio) Consulté 3882 fois
Le logiciel permet aussi d'étudier le champ et la distorsion, mais là je ne maîtrise pas du tout pour le moment

Avatar de l’utilisateur
Ubuntu
Messages : 5014
Inscription : 09 avr. 2019, 10:02

"accélérer" à l'extrême un Mak sans réducteur ...

Message par Ubuntu » 29 janv. 2020, 08:54

Super ça, très intéressant :D

Moi j'utilise winlens3Dbasic... vais essayer de regarder cette config pour voir les distortions :D

pejive
Messages : 11244
Inscription : 09 avr. 2019, 05:43
Localisation : 33

"accélérer" à l'extrême un Mak sans réducteur ...

Message par pejive » 29 janv. 2020, 11:50

Je pense que ce logiciel a des lacunes; il n'y a plus de fichiers d'exemples et je n'arrive pas à faire afficher un dispositif dioptrique... :cry:
J'ai téléchargé WinLens mais c'est hermétique :( faut que je lise le manuel :mrgreen:

Avatar de l’utilisateur
Ubuntu
Messages : 5014
Inscription : 09 avr. 2019, 10:02

"accélérer" à l'extrême un Mak sans réducteur ...

Message par Ubuntu » 29 janv. 2020, 14:58

pejive a écrit :
29 janv. 2020, 11:50
Je pense que ce logiciel a des lacunes; il n'y a plus de fichiers d'exemples et je n'arrive pas à faire afficher un dispositif dioptrique... :cry:
J'ai téléchargé WinLens mais c'est hermétique :( faut que je lise le manuel :mrgreen:
Il y a aussi des tutos youtube... ça prend un peu de temps mais après c'est assez facile :D

Répondre

Revenir à « Recherches et développements »